
冷凝水流量計
- 品*:JKM/凱銘儀表
- 型號:JKM-LDE
- 測量范圍:0.028~205258m3/h
- 精度等級:0.5級、1.0級
- 公稱通徑:DN10~DN2200
- 適用介質:污水、導電液體
- 工作壓力:1.6~6.3MPa
- 工作溫度:-20~+200℃
- 供電方式:220V 24V 鋰電池
- 訂貨號:AKY465414ZMD
冷凝水流量計的基本概述
電磁流量計簡稱EMF,是20實踐50-60年代隨著電子技術的發展而迅速發展起來的新型流量測量儀表。它是根據法拉*電磁感應定律制成的,用來測量導電液體體積流量的儀表。由于其獨特的優點,目前已廣泛地被應用于工業工程中各種導電液體的流量測量,如各種酸、堿、鹽等腐蝕性介質;各種易燃易爆介質;污水處理以及化工、食品、醫藥等工業中的各種漿液流量測量,形成了獨特的應用領域。
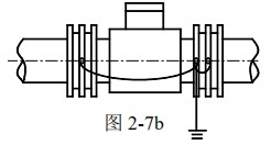
在結構上,電磁流量計由電磁流量傳感器和轉換器兩部分組成,如圖所示。傳感器安裝在工業過程管道上,它的作用是將流進管道內的液體體積流量值線性地變換成感生電勢信號,并通過傳輸線將次信號送到轉換器。轉換器安裝在離傳感器不太遠的地方,它將傳感器送來的流量信號進行放大,并轉換成與流量信號成正比的標準電信號輸出,以進行顯示,累計和調節控制。
冷凝水流量計工作原理
流量計測量原理是基于法拉*電磁感應規律。流量計的測量管是一內襯絕緣材料的非導磁合金短管。兩只電極沿管徑方向穿通管壁固定在測量管上。其電極頭于襯里內表面基本齊平。勵磁線圈由雙向方波脈沖勵磁時,將在與測量管軸線垂直的方向上產生一磁通量密度為B的工作磁場。此時,如果具有一定電導率的流體流經測量管,將切割磁力線感應出電動勢E。電動勢E正比于磁通量密度B,測量管內徑d與平均流速 的乘積、電動勢E(流量信號)由電極檢出并通過電纜送至轉換器。轉換器將流量信號放大處理后,可顯示流體流量,并能輸出脈沖,模擬電流信號,用于流量的測量和控制。
式中: E---------為電極間的信號電壓(v)
B---------磁通密度(T)
d---------測量管內徑(m)
V--------平均流速(m/s)
K---------常數
由于K為常數,勵磁電流是恒流的,故B也是常數,則由(1-1)式可知,體積流量Q與信號電壓E成正比,即流速感應的信號電壓E與體積流量Q成線性關系。因此,只要測量出E就可確定流量Q,這就是電磁流量計的基本工作原理。
由(1-1)式可知,被測流體介質的溫度、密度、壓力、導電率、液固兩相流體介質的液固成分比等參數不會影響測量結果。至于流動狀態只要符合軸對稱流動(如層流或紊流)就不會影響測量結果的。因此說電磁流量計是一種真正的體積流量計。

冷凝水流量計產品特點
1、獨立性強,測量不受液體密度、粘度、溫度壓力和電導率等物理量變化的影響。
2、結構簡單,故障率低,測量管內無活動及阻流部件,不堵塞、無壓損。
3、適用范圍廣,量程比寬,適合導電液體,含有纖維、固體顆粒和懸浮物的液體。
4、安裝要求低,直管段要求低(前5D后2D)。
5、工作穩定可靠,采用低頻方波勵磁,功耗小,零點穩定。
6、輸出信號多樣性,可輸出與流速成正比例的線性模擬信號、數字信號及報警信號。
冷凝水流量計的主要技術數據
| 執行標準 | JB/T 9248-1999 | ||||
| 公稱通徑 | 15、20、25、32、40、50、65、80、100、125、150、200、250、300、350、400、450、500、600、700、800、900、1000、1200、1400、1600、1800、2000、2200、2400、2600、2800、3000 | ||||
| *高流速 | 15m/s | ||||
| 精確度 | DNl5~DN600 | 示值的:±0.3%(流速≥1m/s);±3mm/s(流速<1m/s) | |||
| DN700-DN3000 | 示值的±0.5%(流速≥0.8m/S);±4mm/s(流速<0.8m/S) | ||||
| 流體電導率 | ≥5uS/cm | ||||
| 公稱壓力 | 4.0MPa | 1.6MPa | 1.0MPa | 0.6MPa | 6.3、10MPa |
| DNl5~DN150 | DNl5~DN600 | DN200~DN1000 | DN700~DN3000 | 特殊訂貨 | |
| 環境溫度 | 傳感器 | -25℃-十60℃ | |||
| 轉換器及一體型 | -10℃-十60℃ | ||||
| 襯里材料 | 聚四氟乙烯、聚氯丁橡膠、聚氨酯、聚全氟乙丙烯(F46)、加網PFA | ||||
| *高流體溫度 | 一體型 | 70℃ | |||
| 分離型 | 聚氯丁橡膠襯里 | 80℃;120℃(訂貨時注明) | |||
| 聚氨酯襯里 | 80℃ | ||||
| 聚四氟乙烯襯里 | 100℃;150℃(訂貨時注明) | ||||
| 聚全氟乙丙烯(F46) | |||||
| 加網PFA | |||||
| 信號電極和接地電極材料 | 不銹鋼0Crl8Nil2M02Ti、哈氏合金C、哈氏合金B、鈦、鉭、鉑/銥合金、不銹鋼涂覆碳化鎢 | ||||
| 電極刮刀機構 | DN300-DN3000 | ||||
| 連接法蘭材料 | 碳鋼 | ||||
| 接地法蘭材料 | 不銹鋼1Crl8Ni9Ti | ||||
| 進口保護法蘭材料 | DN65-DNl50 | 不銹鋼1Crl8Ni9Ti | |||
| DN200~DNl600 | 碳鋼十不銹鋼1Crl8Ni9Ti | ||||
| 外殼防護 | DNl5~DN3000分離型橡膠或聚氨酯襯里傳感器 | IP65或IP68 | |||
| 其他傳感器、一體型流量計和分離型轉換器 | IP65 | ||||
| 間距(分離型) | 轉換器距離傳感器一般不超過100m | ||||
冷凝水流量計儀表選型
◆量程范圍確認
一般工業用電磁流量計被測介質流速以2~4m/s為宜,在特殊情況下,*低流速應不小于0.2m/s,*高應不大于8m/s。若介質中含有固體顆粒,常用流速應小于3m/s,防止襯里和電極的過分磨擦;對于粘滯流體,流速可選擇大于2m/s,較大的流速有助于自動消除電極上附著的粘滯物的作用,有利于提高測量精度。
在量程Q已確定的條件下,即可根據上述流速V的范圍決定流量計口徑D的大小,其值由下式計算:
Q=πD2V/4
Q:流量(㎡/h) D:管道內徑 V:流速(m/h)
電磁流量計的量程Q應大于預計的*大流量值,而正常的流量值以稍大于流量計滿量程刻度的50為宜。
◆KM LDE系列電磁流量計參考流量范圍
| 口徑mm | 流量范圍m3/h | 口徑mm | 流量范圍m3/h |
| φ15 | 0.06~6.36 | φ450 | 57.23~5722.65 |
| φ20 | 0.11~11.3 | φ500 | 70.65~7065.00 |
| φ25 | 0.18~17.66 | φ600 | 101.74~10173.6 |
| φ40 | 0.45~45.22 | φ700 | 138.47~13847.4 |
| φ50 | 0.71~70.65 | φ800 | 180.86~18086.4 |
| φ65 | 1.19~119.4 | φ900 | 228.91~22890.6 |
| φ80 | 1.81~180.86 | φ1000 | 406.94~40694.4 |
| φ100 | 2.83~282.60 | φ1200 | 553.90~55389.6 |
| φ150 | 6.36~635.85 | φ1600 | 723.46~72345.6 |
| φ200 | 11.3~1130.4 | φ1800 | 915.62~91562.4 |
| φ250 | 17.66~176.25. | φ2000 | 1130.4~113040.00 |
| φ300 | 25.43~2543.40 | φ2200 | 1367.78~136778.4 |
| φ350 | 34.62~3461.85 | φ2400 | 1627.78~162777.6 |
| φ400 | 45.22~4521.6 | φ2600 | 1910.38~191037.6 |
冷凝水流量計襯里的選擇
| 襯里材料 | 主要性能 | *高介質溫度 | 適用范圍 | |
| 一體型 | 分離型 | |||
| 聚四氟乙烯(F4) | 是化學性能*穩定的一種塑料,能耐沸騰的鹽酸、硫酸、硝酸和王水,也能耐濃堿和各種有機溶劑。不耐三氟化氯、高溫三氟化氯、高流速液氟、液氧、自氧的腐蝕。 | 70℃ | 100℃ 150℃ (需特殊訂貨) | 1、濃酸、堿等強腐蝕性介質。 2、衛生類介質。 |
| 聚全氟乙丙烯(F46) | 同F4,耐磨性、抗負壓能力高于F4。 | 同上 | ||
| 聚氟合乙烯(Fs) | 適用溫度上限較聚四氟乙烯低,但成本也較低。 | 80℃ | ||
| 聚氯丁橡膠 | 1、有極好的彈性,高度的扯斷力,耐磨性能好。2、耐一般低濃度酸、堿、鹽介質的腐蝕,不耐氧化介質的腐蝕。 | 80℃ 120℃ (需特殊訂貨) | 水、污水、弱磨損性的泥漿礦漿。 | |
| 聚氨酯橡膠 |
1、耐磨性能極強。 2、耐腐蝕性能較差。 | 80℃ | 中性強磨損的礦漿、煤漿、泥漿 | |
冷凝水流量計電極的選擇
| 電極材料 | 耐蝕及耐磨性能 |
| 不銹鋼0Crl8Nil2M02Ti | 用于工業用水、生活用水、污水等具有弱腐蝕性的介質,適用于石油、化工、鋼鐵等工業部門及,市政、環保等領域。 |
| 哈氏合金B | 對沸點以下的一切濃度的鹽酸有良好的耐蝕性,也耐硫酸、磷酸、氫氟酸、有機酸等非氯化性酸、堿,非氧化性鹽液的腐蝕。 |
| 哈氏合金C | 能耐非氧化性酸,如硝酸、混酸、或鉻酸與硫酸的混合介質的腐蝕,也耐氧化性鹽類如:Fe,Cu下或含其他氧化劑的腐蝕,如高于常溫的次氯酸鹽溶液、海水的腐蝕 |
| 鈦 | 能耐海水、各種氯化物和次氯酸鹽、氧化性酸(包括發煙硫酸)、有機酸、堿的腐蝕。不耐較純的還原性酸(如硫酸、鹽酸)的腐蝕,但如酸中含有氧化劑(如硝酸、Fc++、Cu++)時,則腐蝕大為降低。 |
| 鉭 | 具有優良的耐蝕性和玻璃很相似。除了氫氟酸、發煙硫酸、堿外,幾乎能耐一切化學介質(包括沸點的鹽酸、硝酸和l 50℃以下的硫酸)的腐蝕。在堿中刁;耐蝕。 |
| 鉑/鈦合金 | 幾乎能耐一切化學介質,但不適用于王水和銨鹽。 |
| 不銹鋼涂覆碳化鎢 | 用于無腐蝕性,強磨損性的介質。 |
| 注: 由于介質種類繁多,其腐蝕性又受溫度、濃度、流速等復雜因素影響而變化,故本表僅供參考。用戶應根據實際情況自己做出選擇,必要時應做擬選材料的耐腐試驗,如掛片試驗。 | |
冷凝水流量計型譜
| 型號 | 口徑 | ||||||||
| KMLD | 15~2600 | ||||||||
| 代號 | 安裝形式 | ||||||||
| Y | 一體式 | ||||||||
| F | 分體式 | ||||||||
| 代號 | 轉換器型號 | ||||||||
| ZA | 圓形 | ||||||||
| ZB | 方形 | ||||||||
| 代號 | 輸出信號 | ||||||||
| I.4 | 4~20mA | ||||||||
| f | 頻率 1KHz | ||||||||
| Rs | 串行通訊(485) | ||||||||
| C | 控制輸出 | ||||||||
| 代號 | 防爆要求 | ||||||||
| N | 無防爆 | ||||||||
| EX | 防爆(僅適用于分體式) | ||||||||
| 代號 | 介質溫度 | ||||||||
| T1 | ≤65℃ | ||||||||
| T2 | ≤120℃ | ||||||||
| T3 | ≤180℃(僅適用于分體式) | ||||||||
| 代號 | 內襯材質 | ||||||||
| NE | 氯丁橡膠(≤65℃) | ||||||||
| PTFE | 聚四氟乙烯(≤189℃) | ||||||||
| PVC | 聚氯乙烯(≤70℃) | ||||||||
| 代號 | 電極材質 | ||||||||
| 316L | 不銹鋼 | ||||||||
| HC | 哈氏合金C | ||||||||
| HB | 哈氏合金B | ||||||||
| Ti | 鈦 | ||||||||
| Ta | 鉭 | ||||||||
















上一篇:排水流量計|分體電磁式
下一篇:純化水流量計|不銹鋼液體渦輪式


